什么是云会计?云会计不是会计,而是会计系统,是为会计服务的!它是一种基于云计算的会计服务模式,允许企业通过互联网访问会计数据和应用程序,实现会计信息的收集、处理和报告。
与传统会计相比,云会计具有以下显著优势:
1. 便利性云会计系统使企业决策者能够随时随地通过各种设备访问会计数据,极大地提高了工作的灵活性和效率。
2. 合作性可以通过数据分享,使企业多部门人员可以实时通过云端协作,共同讨论和解决企业的会计问题。
3. 集成性云会计系统打破了部门间的信息壁垒,实现了会计数据的快速集成和共享,提高了数据处理的速度和准确性。
4. 学习性云会计系统能够及时吸收最新的人工智能、机器学习和深度学习技术,不断提升用户体验和服务质量,能实时更新相关的政策信息。
云会计与传统会计相比,传统的会计系统存在诸多限制,如维护困难、数据访问受限等。而云会计系统则不同,它有以下功能:
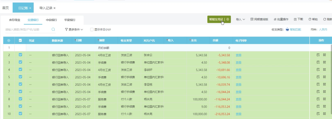
1、自动化数据处理:云会计系统自动完成大量数据录入工作,节约会计处理时间。
比如,用友
好会计软件支持从税务数字账户取票等多种取票路径,自动生成凭证,可以采集导入银行数据(银企直连、导入Excel等方式均支持)生成日记账,再由日记账智能生成凭证。

2、管理决策支持:云会计系统提供精确的会计数据支撑,数据指标分析,帮助企业高层做出更明智的业务预测和管理决策。

3、长期规划与效率提升:云会计系统为企业提供长期规划方案,提高会计处理效率。
用友
好会计软件客户端实时更新,随时根据最新的税收政策等信息更新相关数表,帮助企业做出正确的财税处理!同时,通过各种税表检查,进销稽核,为企业防范税务风险!
4、随时随地的数据访问:决策者可以深入了解企业的财务状况,不受时间和地点的限制。
用友
好会计支持云端访问,支持任何时间、地点查看数据!